St. Augustine's Family Services
PROPERTIES
STOCKS
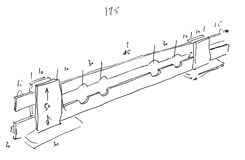
Here's the original sketch for our stocks ;
Dimensions are in centimetres; all the wood was fairly light so that we could easily carry the stocks about.
( Click the picture for a separate version. )
The final version differed only slightly from the sketch :
- Changes for easy portability :
- close the tops of the two stands so that the whole can be lifted by the handles ( just visible on the sketch beneath the outermost "15" dimensions );
- Don't use the handles on the picture anyway; instead, cut hand-sized holes in the upper plank just below where the handles are shown ( It's easier to remove the upper plank that way, and probably looks better );
- To stop the upper plank moving sideways, make a hole through it just on the prisoner side of each vertical support, and put a nut-and-bolt through it.
- Change for comfort :
nail blocks of wood just below the leg-holes in the bottom board so that legs aren't resting just on the rather narrow wooden board.
Examples
We used the stocks in one of our services :
2006 October